(2)河川護岸
………………………………………………………………………………………………………
▲▼▲▼▲▼▲▼▲▼▲▼▲▼▲▼ 問題 ▲▼▲▼▲▼▲▼▲▼▲▼▲▼▲▼▲▼▲
………………………………………………………………………………………………………
問1 河川護岸一般
………………
a, 高水護岸は,単断面河川において高水時に裏法面を保護するために施工するのか?
(h29b,28)
………………
b, 低水護岸は,単断面河道などで堤防と低水河岸を一体として保護するものであるの
か? (h29b)
………………
c, 高水護岸は,複断面河川において高水時に堤防の表法面を保護するために施工する
のか? (r1b,h30b)
………………
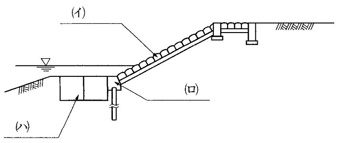
d, 下図に示す河川の低水護岸の(イ)~(ハ)の構造名称に関する次の組合せのうち,
適当なものはどれか。 (r1a)

(イ) (ロ) (ハ)
(1)法覆工 ……………… 小口止め工 ………… 水制工
(2)天端保護工 ………… 基礎工 ……………… 水制工
(3)天端保護工 ………… 小口止め工 ………… 根固工
(4)法覆工 ……………… 基礎工 ……………… 根固工
………………………………
問2 法覆工
………………
a, 法覆工は,堤防の法勾配が緩く流速が小さな場所では,積ブロックで施工するの
か? (h28)
………………
b, 法覆工には,主にコンクリートブロック張工やコンクリート法枠工などがあり,
堤防及び河岸の法面を被覆し保護するものであるのか? (h29a)
………………
c, 横帯工は,護岸の法肩部に設けられるもので法肩の施工を容易にし,法肩部の破損
を防ぐものであるのか? (h29b)
………………
d, 縦帯工は,河川の流水方向の一定区間ごとに設けられ,護岸の破損が他の箇所に波
及しないよう絶縁する役割を有するのか? (h29b)
………………
e, 河川護岸の法覆工に関する次の記述のうち,適当でないものはどれか。 (h30a)
(1)コンクリートブロック張工は,工場製品のコンクリートブロックを法面に敷設する
工法である。
(2)コンクリート法枠工は,法勾配の急な場所では施工が難しい工法である。
(3)コンクリートブロック張工は,一般に法勾配が急で流速の大きい場所では平板ブロ
ックを用いる工法である。
(4)コンクリート法枠工は,法面のコンクリート格子枠の中にコンクリートを打設する
工法である。
………………
f, 法覆工は,堤防や河岸の法面を被覆し保護するために施工するのか? (h30b)
………………
g, 法覆工は,堤防の法勾配が緩く流速が小さな場所では間知ブロックで施工するのか?
(r1b)
………………………………
問3 基礎工
………………
a, 護岸基礎工の天端の高さは,洗掘に対する保護のため平均河床高と同じ高さで施工
するのか? (r1b,h28)
………………
b, 基礎工は,法覆工を支える基礎であり,洗掘に対する保護や裏込め土砂の流出を防
ぐものであるのか? (h30b,29a)
………………………………
問4 根固め工
………………
a, 根固工は,急流河川や流水方向にある水衝部などで河床洗掘を防ぎ,基礎工などを
保護するために施工するのか? (h28)
………………
b, 根固工は,法覆工の上下流の端部に施工して護岸を保護し,将来の延伸を容易にす
るものであるのか? (r1b,h29a)
………………
c, 根固工は,水流の方向を変えて河川の流路を安定させるために施工するのか?
(h30b)
………………………………
問5 天端保護工
………………
a, 低水護岸の天端保護工は,流水によって護岸の裏側から破壊しないように保護する
ものであるのか? (h29a)
………………………………………………………………………………………………………
▲▼▲▼▲▼▲▼▲▼▲▼▲▼▲▼ 解答 ▲▼▲▼▲▼▲▼▲▼▲▼▲▼▲▼▲▼▲
………………………………………………………………………………………………………
問1
………………
a, × [裏法面」ではなく、「表法面」である。
………………
b, ×
………………
c, ○
………………
d, (4)
………………………………
問2
………………
a, × 堤防の法勾配が緩く流速が小さな場所では,平板ブロックが使用される。ま
た、積ブロックは、法勾配が急なところや流速が大きい場所に用いられる。
………………
b, ○
………………
c, × 記述の内容は、縦帯工である。
………………
d, × 記述の内容は、横帯工である。
………………
e, (3)「平板ブロック」ではなく、「間地ブロック」である。
………………
f, ○
………………
g, × 間地ブロックは、法勾配が急な場所に用いられる。
………………………………
問3
………………
a, 護岸基礎工の天端の高さは,最深河床高から決める。
………………
b, ○
………………………………
問4
………………
a, ○
………………
b, × 根固工は、護岸基礎工の前面に設置する。
………………
c, × 記述の内容は、水制工である。
………………………………
問5
………………
a, ○
★平成27年度以前の問題と解答は、こちら をご覧ください。
Copyright (C) 2020 Hidenori Nakamura. All Right Reserved
■■■■■■■■■■■■■■■■■■■■■■■■■■■■■■■■■■■■■■■
HOME